机械原理

(未完成……敬请期待……)

1

upload successful
8个活动构件,I、H复合铰,F=3×82×111=1F=3\times8-2\times11-1=1

1

upload successful
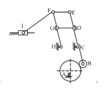
GD是虚约束,n=6,F点是复合铰,B点是局部自由度,F=3×62×81=1F=3\times6-2\times8-1=1

1

如图所示的平面机构,构件2以角速度 ω2=200rad/s\omega_{2}=200rad/s 做匀速转动,转动方向为顺时针,试用速度瞬心法求在图示位置时构件4角速度 ω4\omega_{4} 的大小和方向。
upload successful

upload successful

1

一偏心圆。试用作图法在图上画出:(1)凸轮理论轮廓线和基圆,并确定基圆半径大小;(2)图示位置从动件的位移 s1s_{1} ;(3)凸轮由图示位置转过90°时的位移 s2s_{2} ,和压力角 α2\alpha_{2}
upload successful

upload successful

1

已知一对标准安装的外啮合标准直齿圆柱齿轮的参数为 Z1=24Z_{1}=24Z2=48Z_{2}=48α=20°\alpha=20°m=2m=2,(1)求两齿轮的中心距、齿厚和齿距;(2)分别求两个齿轮的分度圆直径、基圆直径、齿顶圆直径、齿顶圆压力角;(3)当这对齿轮中心距增大 2mm2mm 后,其传动比 i12i_{12} 和啮合角 α{\alpha}' 分别是多少?

1

如图所示轮系中,已知各轮齿数为: Z1=60Z_{1}=60Z2=15Z_{2}=15Z2=30{Z_{2}}'=30Z3=105Z_{3}=105Z4=30Z_{4}=30Z5=32Z_{5}=32 ,试求传动比 i15i_{15}
upload successful

(您还可以在归档页搜索文章标题)